5>
PERFORMANCE
 
Without load
Withload
Maximum travel speed (mph/km/h)
3.75 / 6.0
3.75 / 6.0
Gradient performance
16%
7%
Lift speed (ft / min / m/s)
45 / 0.26
28 / 0.14
TRUCK WEIGHT (WITHOUT BATTERY)
[LBS / KG]
Lifting height h3
110"
137"
157"
165"
206"
*See Below
2117/
962
2197/
999
2267/
1030
2434/
1106
2583/
1175
* Truck requires minimum battery weight of
440 lbs / 200 kg for safe operation.
Battery compartment size:
                 28.31"L x 11.2"W x 26.9"H
                 720mm L x 285mm W x 685mm H
STANDARD MASTS
Telescopic Masts
h1
h2
h3
h4
77"/1950 mm
4"/100 mm
110"/2800 mm
131"/3331 mm
91"/2300 mm
4"/100 mm
137"/3500 mm
159"/4031 mm
101"/2550 mm
4"/100 mm
157"/4000 mm
179"/4531 mm
89"/2250 mm
67"/1719 mm
137"/3500 mm
159"/4031 mm
*75"/1900 mm
54"/1369 mm
165"/4200 mm
186"/4731 mm
*89"/2250 mm
67"/1719 mm
206"/5250 mm
228"/5781 mm
TECHNICAL CHARACTERISTICS
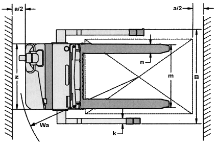
Q
- capacity
EJB 25
2500 lbs./1133 kg
EJB 35
3500 lbs./1586 kg
c
- load center
24"/600 mm
y
- wheel base
55.5"/1410 mm
B
- overall width
44.25" to 57"
L
- overall length
80.75"/2051 mm
l1
- standard fork length
42"/1066 mm
l2
- extension length
35.75"/908 mm
m
- width across forks
from 8.5" to 30"/from 216 mm to 762 mm
n
- fork width
4"/100 mm
s
- thickness of forks
1.625"/42 mm
Wa
- turning radius
63"/1600 mm
a
- safety clearance
8"/203 mm
k
- straddle leg width
4.25"/108 mm
z
- extension width
31.5"/800 mm
h6
- extension height
35"/889 mm
h7
- upright handle height
51.5"/1308 mm
h8
- lowered fork height
2.5"/63 mm
h1
- overall height
see table
h2
- free lift
see table
h3
- lift height
see table
h4
- extended mast height
see table
h
- height of straddle leg
3.2"/80 mm
* = 3 stage-mast
AISLE TURNING DIMENSIONS AST (INCHES)
Load Length
Load Width
 
30
36
40
42
48
30
80
83
85
86
89
36
80
83
85
86
89
40
80
83
85
86
89
42
80
83
85
86
89
48
81
84
86
87
90
Add 8" for ease of operation

 

Privacy Policy | Terms of Use | Site Map | Representative Login | Contact Us
Copyright © SEI Equipment Corporation. All Rights Reserved.