|
Electric
Walkie Pallet Truck
|
|
|
|
|
|
|
 |
|
Walkie
Stackers
|
|
|
|
|
|
|
|
|
 |
|
 |
Safety:
The EJB stacker has been engineered under modern
safety aspects which are offering very good serviceability
and a maximum performance of safety for the operator:
-multifunctional handle which makes it unnecessary
to remove hands from handle while operating truck
-emergency stop button within easy reach
-"deadman" braking system, which is activated
upon release of the handle
-reversing "belly button" safety switch
on the handle, thus reducing the chances of injury
-enclosed type of bumper which protects the operator's
feet
Controls:
All control buttons are located in the upper part
of the long multifunctional handle and include:
- two butterfly controls for finite control of
travel speeds
-push buttons for lifting and lowering of forks
with sensing control
-crawl speed button that will allow truck to move
even with handle in an upright position
Drive Motor:
Powerful 1.5 kW separately excited motor with
high overload capacity and remarkable efficiency.
Mast:
The mast fabrication is of cold drawn steel giving
great rigidity. Good visibility of load and forks
is permitted because of laterally mounted lifting
cylinders (full visibility telescopic mast).
Drive wheel:
9" diameter, 2.75" wide, Polyurethane.
|
Load wheels:
3.35" diameter, 4.33" wide, Polyurethane.
Steering:
Pedestrian operated steering handle can easily
be swiveled through 90° to either side. Eccentric
mounted handle ensures good sight in moving direction
even if load is picked up.
Brake:
Electromagnetic disc brake connected to drive
shaft. When butterfly control is in zero-position,
the battery will be recharged while truck slows
down. Automatic rollback protection on gradients.
Construction:
Rugged built steel frame provides high remaining
lift capacities and stability. Truck comes standard
with adjustable straddle legs.
Lifting and Lowering:
Infinitely variable speeds through push buttons
in handle. High pressure pump driven by powerful
3.0 kW series-wound motor.
Maintenance:
All electric and hydraulic components are easily
accessible. Control fuses are immediately accessible
under a one-piece-hood. All MULTITON spare parts
are available within a remarkably short delivery
time.
Batteries:
24 V industrial batteries with 195 Ah, 225Ah,
255 Ah or up to 340 Ah. Call for specifications.
|
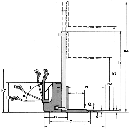
- Capacity 2,500 lbs.
- Load Center 24"
- Overall Length 80"
- Fork Length 42"
- Adjustable Straddle
- Thickness of Forks 2.5"
- Fork Width 4"
- 9" Steering Wheels polyurethane
- 6 months warranty on parts, hydraulic
unit and frame
- 24 Volt System
- 195 AH, 24 Volt Industrial Battery
- 24V Charger, 1 Phase 120V, 13.9A
|
|
Pricing(Straddle
& Forkover Models) |
|
|
Model
#
|
Description
|
Capacity
|
Price(USD)
|
| EJB35
|
Lifting Height 110"
(4" Free Lift) |
3500
lbs
|
$9,888.00
|
| |
Lifting
Height 137" (4" Free Lift) |
3500
lbs
|
$10,027.00
|
| |
Lifting Height 137"
(67" Free Lift) |
3500
lbs
|
$11,253.00
|
| |
Lifting
Height 157" (4" Free Lift) |
3500
lbs
|
$10,176.00
|
| |
Lifting
Height 185" (Ttriple Stage Mast 53" Free
Lift) |
3500
lbs
|
$12,293.00
|
| |
Lifting
Height 206" (Ttriple Stage Mast 68" Free
Lift) |
3500
lbs
|
$12,437.00
|
|
Description
|
Add:
|
| 195 AH 24 Volt Industrial
Battery |
$1,521.00
|
| 255
AH 24 Volt Industrial Battery |
$1,673.00
|
| 340 AH 24 Volt Industrial
Battery |
$1,940.00
|
| Maint.
Free Battery Pack 250 AH (110" and 137"
Masts only) |
$1,853.00
|
| 24V Charger, 120 Volt
Single Phase, 13.9A, 40A DC Output |
$540.00
|
| 24V
Charger, 120 Volt Single Phase, 17.5A, 50A DC Output |
$1,048.00
|
| 24V Charger, 208/240
Volt Single Phase, 12.1/10.4A, 60A DC Output |
$1,048.00
|
| Battery
Discharge Indicator with lift interrupt/Hourmeter |
$397.00
|
| Fork Length 48"
(Straddle Only) |
$93.00
|
| Fork
Length 30-36" (Straddle Only) |
$67.00
|
| Snap on Platform (40x42
Straddle Only) |
$160.00
|
| Steering
Wheel: Quartz (Sanded) in Lieu of Standard |
$220.00
|
| Load Backrest 48" |
$173.00
|
|
|