Product Catalog
Search:
Contact Us Today! Toll Free 1-877-775-2211 or e-mail us at sales@seiequipment.com
Location: SEI Equipment> Electric Pallet Trucks>Swift

SWIFT Capacity 2,000 lbs.
Walkie Straddle Stacker

The new Swift is an electric stacker with a capacity of
2,000 lbs. to the full lifting height of 62.5". The Swift is
available in both, the Fork Over and the Straddle Leg
version. Not only constructed for a warehouse, it is the
ideal tool to lift a variety of objects. You can use it in a
grocery or repair shop. Thanks to its innovative design,
the new Swift requires only limited space and provides aunique blend of advantage.

Electric Walkie Pallet Truck
Walkie Stackers

Contact Us Today! Toll Free 1-877-775-2211 or e-mail us at sales@seiequipment.com

Overview
Safety:
The discharge monitor deactivates the fast speed
function when the voltage is low to prevent exhaustive discharge.
- When the control shaft is released, a gas pressure spring causes it to be pushed into the upper position.

Controls:
The multi function handle head with exemplary
ergonomics provides optimum operator comfort and safety. The operating buttons for lifting/lowering and horn can be reached without hand changes.

Drive Motor:
0.3 kW permanent magnet motor with shunt wound characteristics. Motor protection circuit for terminal overload. Power transmission via two-stage gear unit with high efficiency. Grease lubrication.

Mast:
The sturdy single mast permits optimum visibility
conditions.

Drive wheel:
Standard Polyurethane tires. Drive wheel dia. 9.06" x 3.15" wide. Caster Fork Over dia 5.91" x 1.97" wide; Straddle Legs dia. 5.51" x 1.97" wide, spring loaded, springing 0.59".

Load wheels:
Easily replaceable Polyurethane tires dia. 3.35" x 2.76" wide.

Steering:
By means of long, low slung safety handle. Low steering forces. Handle may be swiveled through 180°

Brake:
Magnetic brake acting on motor shaft, operated through the handle. Braking position with handle pressed down and handle in upright position with simultaneous interruption of the main power circuit. Asbestos-free brake.

Construction:
The Swift is a four-wheel truck with a steerable drive wheel, a supporting wheel and two load-bearing wheels. Hoods that are easy to open provide easy access to all units. The operating controls are located in the control handle head.

Lifting and Lowering:
Hydraulically through high pressure pump with powerful
1 kW series wound motor.

Forks:
Sturdy and torsion resistant box forks.

Batteries:
2 x 12V/60 Ah, maintenance free. Standard build-in micro processor controlled battery charger with charge control light, compensating charge and maintenance charge. Charging of the batteries via any main socket (Alternating Current (AC) 120V).


Standard Specifications
  • Electronic Speed Controller
  • Emergency Stop Plug
  • Battery Discharge Indicator
  • Charge Control Lamp
  • Battery Charging Plug
  • Key Lock
  • Mast Covering
  • Battery - included
Pricing for Stacker: Swift
Model #
Description
Capacity
Price(USD)
Fork Over Lifting Height 62" Non Telescopic
2000 lbs
$4,467.00
Fork Over
Lifting Height 79" Collapsed Height 95"
2000 lbs
$4,861.00
Straddle
Lifting Height 62" Non Telescopic
2000 lbs
$4,861.00
Straddle
Lifting Height 79" Collapsed Height 95"
2000 lbs
$5,255.00
Options
Description
Add:
Non-Conductive Drive Tires
$190.80
Remote Control
$278.00
Loadbackrest 48"
$142.00
Carriage with adjustable forks
$451.00
Snap on Platform (26x46)
$122.00

PERFORMANCE
  Without load With
load
Travel Speed (mph/km/h) 2.2/3.5 1.9/3.0
Truck Weight* (lbs./kg) 939/425 2939/1333
Lifting Speed (ft/min) 22 15
Lowering Speed (ft/min) 14 35
Gradient Performance 5% 0%
Short Term Gradient Performance 10% 3%
* Without battery
Truck requires battery wieght of 99 lbs.
TECHNICAL CHARACTERISTICS
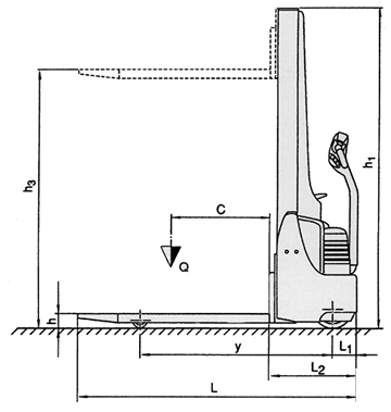
Q - capacity 2000 lbs./906 kg
C - load center 23.6"/600mm
y - wheel base 46.1"/1169mm
L1 - distance: load wheel chassis 5.9"/150mm
L2 - length of drive 21"/534mm
L - overall length 67.3"/1710mm
m1 - max, distance between Straddle Legs 50"/1270mm
m2* - max, overall width (Straddle Legs) 57.9"/1470mm
m3 - width over the forks (Fork Over) 21.3"/540mm
- width over the forks (Straddle Legs) 21.3"/540mm
  26"/660mm
m4 - fork width 6.3"/160mm
Wa - turning radius 55.3"/1405mm
B - overall width (Fork Over) 31.5"/800mm
h1 - overall height 77.5"/1969mm
h3 - lift height 62.5"/1588mm
h - fork/legs height 3.54"/90mm
AISLE TURNING DIMENSIONS
LOAD LENGTH (IN) DESCRIPTION LOAD WIDTH (IN)
   
30
36
40
42
48
30 Fork Over
78
81
83
84
87
Straddle Leg
92
92
92
92
92
36 Fork Over
79
82
84
85
88
Straddle Leg
92
92
92
92
92
40 Fork Over
81
83
85
86
89
Straddle Leg
92
92
92
92
92
42 Fork Over
82
84
86
87
90
Straddle Leg
92
92
92
92
92
48 Fork Over
86
88
89
90
93
Straddle Leg
92
92
92
92
92
* Straddle Legs adjustable in 6 stages of 1.97" each.
Add 8" for ease of operation.

 

Privacy Policy | Terms of Use | Site Map | Representative Login | Contact Us
Copyright © SEI Equipment Corporation. All Rights Reserved.